OEM conector coaxial RF de 2,4 mm Supplier

Tecnologia de comunicação Co. de Ningbo Hanson, Ltd. Lar / Produtos / Conector coaxial RF / conector coaxial RF de 2,4 mm

conector coaxial RF de 2,4 mm

Descrição:

O conector da série 2,4 mm é um conector RF de alta frequência projetado para aplicações de alta precisão e alta frequência, especialmente para ocasiões de transmissão de sinal que exigem uma faixa de frequência de transmissão de 40 GHz ou até superior. É a escolha ideal para fornecer conexões de sinal de alto desempenho na banda de frequência de micro-ondas, comunicação de alta velocidade e campos de teste e medição de precisão.

Parâmetro:

Principais Especificações Técnicas:
◆ Impedância característica: 50Ω
◆ Faixa de frequência: DC-50GHz
◆ Resistência de isolamento: ≥5000MΩ
◆ Tensão suportável dielétrica: 500V (rms)
◆ Relação de onda estacionária de tensão (VSWR): ≤1,35
◆ Ciclos de acasalamento: 500 vezes

Pergunte

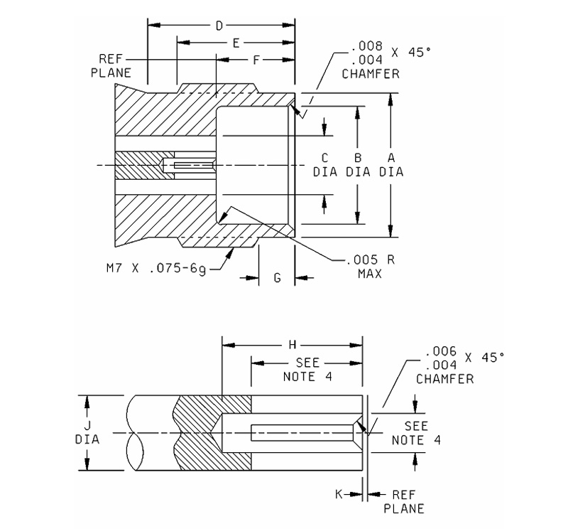
Carta Milímetros (polegadas)
Mínimo Máximo
UM 4,725 (0,186) 4,75(0,187)
B 2,393(0,094) 2.408(095)
C 1,85 (0,073) 2,45 (0,096)
E 4,75(0,187) 4,85(0,191)
F 1.035(0.0407) 1,05 (0,0413)
G 1,34 (0,053) 1,45 (0,057)
H 0,498(0,0196) 0,523 (0,0206)
J.. ---------- 0,25(0,010)
K 0,00 (0,000) 0,08 (0,003)

Notas:
1. O comprimento da rosca é a partir da extremidade da porca de acoplamento, no mínimo 4,37 mm (0,172 pol.), 0,63 mm (0,025 pol.)±0,25 mm (0,010 pol.).
2. Com a porca de acoplamento inclinada para frente.
3. UMs dimensões estão em milímetros.
4. Os equivalentes em polegadas-libra são fornecidos apenas para fins informativos.
5. Rebaixamento mínimo de 7 mm (0,276 pol.).

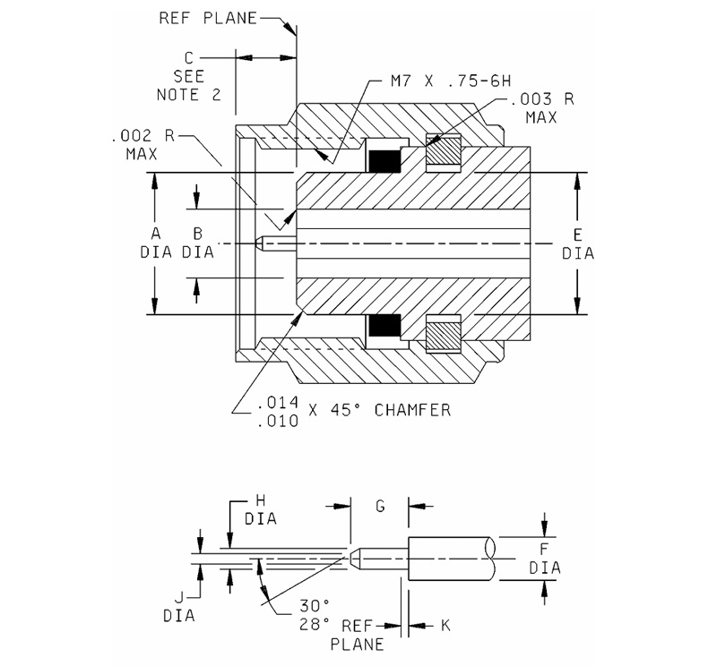
Carta Milímetros (polegadas)
Mínimo Máximo
UM 4,725(0,186) 4,75 (187)
B 2,393 (0,094) 2,408 (0,095)
C 1,85 (0,073) 2,45 (0,096)
E 4,75(0,187) 4,85 (0,191)
F 1.035(0.0407) 1,05 (0,0413)
G 1,34 (0,053) 1,45 (0,057)
H 0,498 (0,0196) 0,523(0,0206)
J.. -------- 0,25 (0,010)
K 0,00(0,000) 0,08 (0,003)

Notas:
1. O comprimento da rosca é a partir da extremidade da porca de acoplamento, no mínimo 4,37 mm (0,172 pol.), 0,63 mm (0,025 pol.)±0,25 mm (0,010 pol.).
2. Com a porca de acoplamento inclinada para frente.
3. UMs dimensões estão em milímetros.
4. Os equivalentes em polegadas-libra são fornecidos apenas para fins informativos.
5. Rebaixamento mínimo de 7 mm (0,276 pol.).

2,4mm SERIES
  • 2.4-JB2
    2.4-JB2
    Modelo Tipo de cabo
    2.4-JB2 SFT-50-2.670-086
  • 2.4-J125
    2.4-J125
    Modelo Tipo de cabo
    2.4-J125 125
  • 2.4-J230
    2.4-J230
    Modelo Tipo de cabo
    2.4-J230 MILFLEX230

MANTENHA CONTATO

[#entrada#]
ENVIAR
Sobre nós
Tecnologia de comunicação Co. de Ningbo Hanson, Ltd.
Tecnologia de comunicação Co. de Ningbo Hanson, Ltd.
Ningbo Hanson Communication Technology Co., Ltd. is China conector coaxial RF de 2,4 mm Supplier and Custom conector coaxial RF de 2,4 mm Company. We are a manufacturer specializing in the production, processing, and trade of communication components, with more than 30 years of experience in RF coaxial connectors, adapters, and cable assemblies. A empresa desenvolveu agora sua própria oficina de usinagem, oficina de galvanoplastia, oficina de montagem e um grupo de fornecedores estáveis ​​e confiáveis. O objetivo da empresa é fornecer aos clientes produtos de alta qualidade. Os principais produtos são conectores coaxiais RF, adaptadores, conjuntos de cabos de alta frequência e conjuntos de cabos de baixa intermodulação. Além disso, a empresa também pode fornecer serviços para clientes com necessidades personalizadas para atender às necessidades especiais dos clientes em relação aos produtos. Os produtos da empresa são amplamente utilizados na indústria aeroespacial, estações base de comunicação, equipamentos médicos e outros campos de alta tecnologia. No momento da reforma, inovação, desenvolvimento e crescimento empresarial, a empresa tomou a iniciativa de aderir ao sistema de gestão de qualidade internacional ISO9001 e melhorou continuamente o nível de gestão, de modo a fornecer produtos e serviços mais satisfatórios a novos e antigos clientes.
Últimas Notícias
Procureo oportunidade de negócio?

Solicite uma ligação hoje